Specializujeme se na pružné kolíky ISO8752 / DIN1481 těžké ISO13337 lehké provedení v materiálu oceli C67S, nerezi austenitické 1.4310
Upozornění: standardní ISO8752 pružné kolíky NEJSOU vhodné pro automatizovaou montáž, důvodem je zamykání kolíků do sebe, jak znázorňuje obrázek níže.

Rádi Vám poradíme ohledně správného výběru kolíku. Existují varianty pružných kolíků, které jsou vhodné i pro automatické lisování. Některé z variant jsou vidět na tomto obrázku:

Zkontaktujte nás a společně vyřešíme Vaši aplikaci a montáž kolíku.
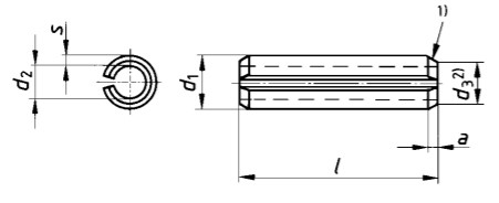
Níže v tabulce naleznete nejběžnější rozměry a tolerance pružných kolíků ISO8752:


| Nominální průměr | 1.5 | 2 | 2.5 | 3 | 4 | 5 | 6 | 8 | 10 | 12 | |
| délka | 4 | x | x | ||||||||
| 5 | x | x | |||||||||
| 6 | x | x | x | x | |||||||
| 8 | x | x | x | x | x | ||||||
| 10 | x | x | x | x | x | ||||||
| 12 | x | x | x | x | x | x | x | ||||
| 14 | x | x | x | x | x | x | x | ||||
| 16 | x | x | x | x | x | x | x | x | |||
| 18 | x | x | x | x | x | x | x | x | |||
| 20 | x | x | x | x | x | x | x | x | |||
| 22 | x | x | x | x | x | x | x | x | |||
| 24 | x | x | x | x | x | x | x | x | |||
| 26 | x | x | x | x | x | x | x | x | |||
| 28 | x | x | x | x | x | x | x | x | |||
| 30 | x | x | x | x | x | x | x | x | x | ||
| 32 | x | x | x | x | x | x | x | ||||
| 35 | x | x | x | x | x | x | x | ||||
| 40 | x | x | x | x | x | x | x | ||||
| 45 | x | x | x | x | x | x | |||||
| 50 | x | x | x | x | x | x | |||||
| 55 | x | x | x | x | |||||||
| 60 | x | x | x | x | |||||||
| 70 | x | x | x | x | |||||||
| 75 | x | x | x | ||||||||
| 80 | x | x |